最新資訊
活動風采
服務項目
服務項目
企業資源
勞動部快訊
財政部快訊
跨界整合
連絡我們
勞動部快訊
違反勞動法令之事業單位與裁罰
2022
04/14
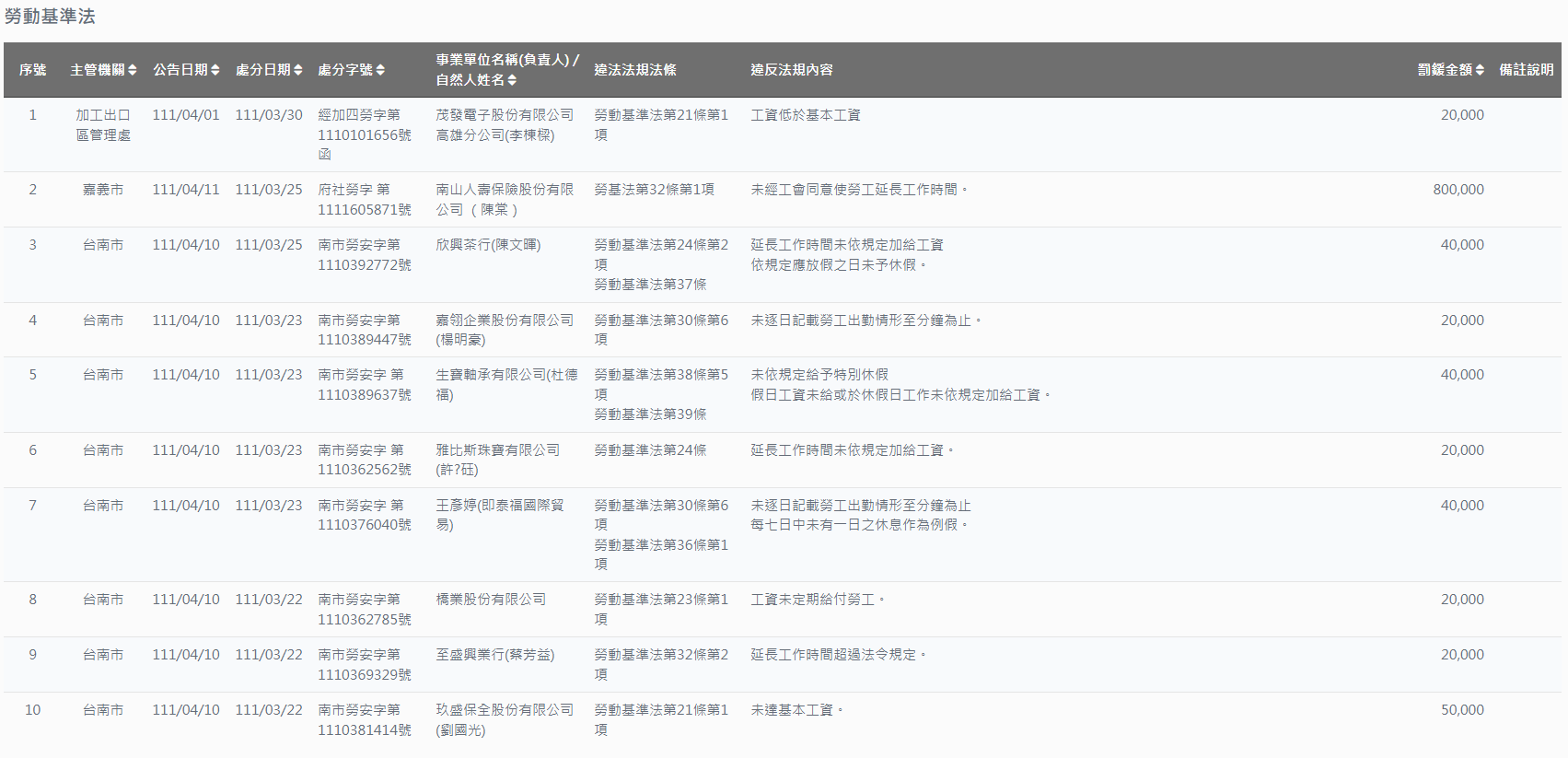
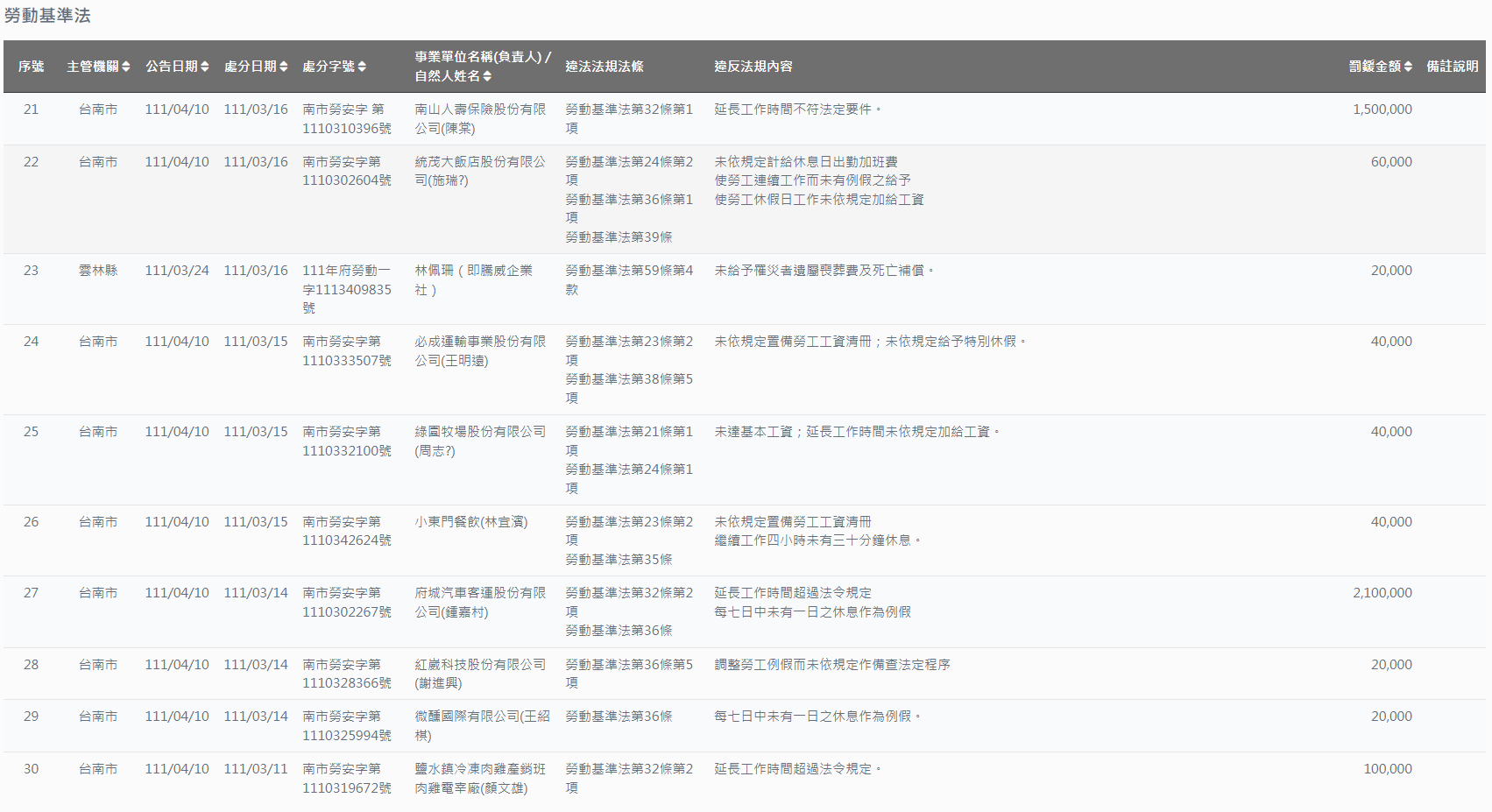
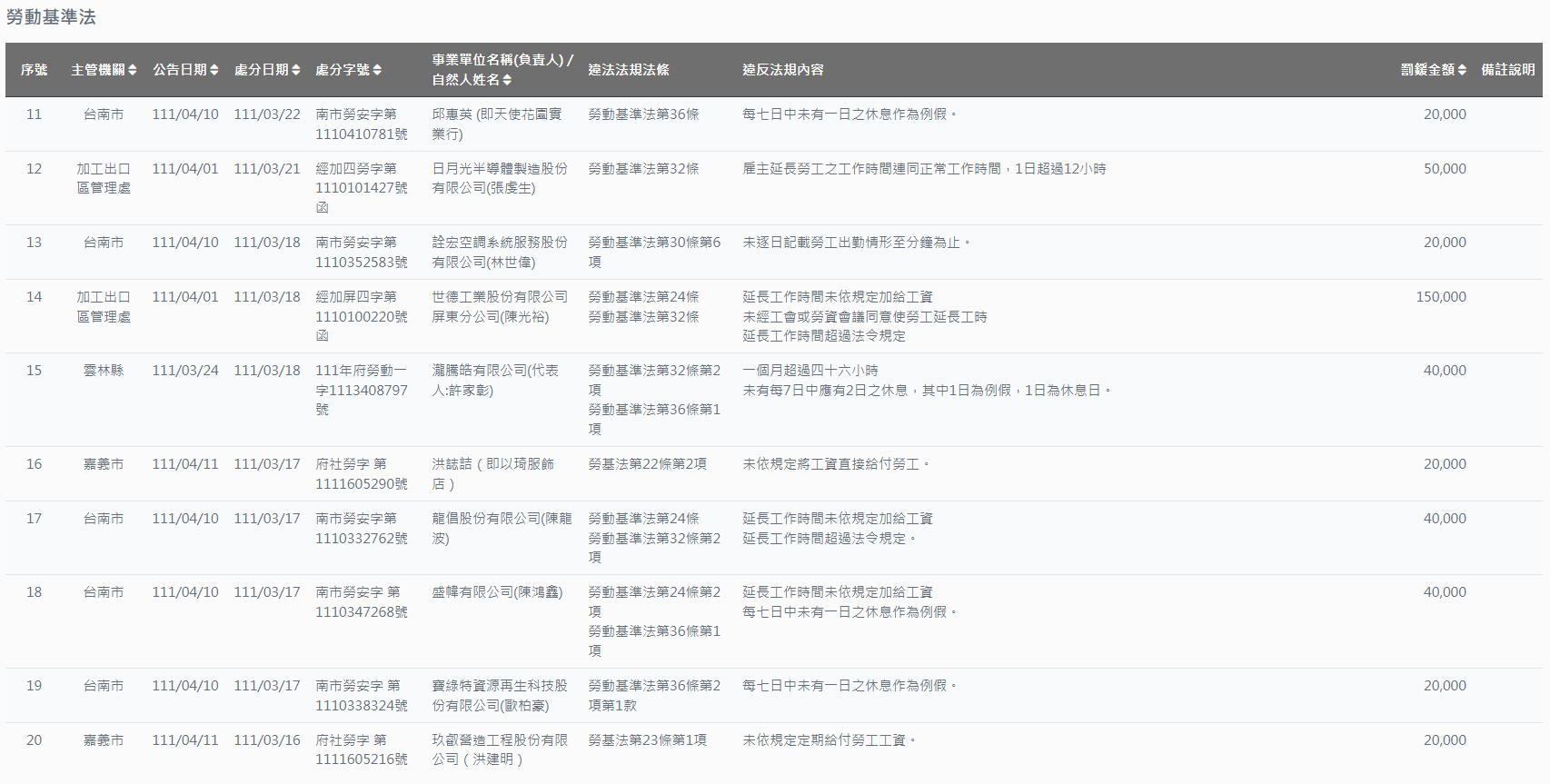
近期內30間違反勞動法令之事業單位!
附件:
近期1~10間事業單位.PNG
附件:
近期11~20間事業單位.PNG
附件:
近期21~30間事業單位.PNG
BACK TO LIST
2021/11/03 |
勞動部快訊
111年1月1日起,勞工從事值日(夜)一律計入工作時間,超時並應發給加班費。
勞動部快訊
| 2022/05/07
勞工染疫如何保障自己勞權? 高雄市勞工局製表說分明!